Abstrak
Cetakan stempel progresif multifungsi yang presisi, terdiri dari cetakan bawah, cetakan atas, dan mekanisme pemandu dalam dan luar. Cetakan atas mencakup dudukan cetakan atas, bantalan cetakan cembung, pelat pemasangan cetakan cembung, bantalan pelepasan, dan pelat pelepasan. Cetakan bawah mencakup dudukan cetakan bawah, bantalan cetakan cekung, dan cetakan cekung; Mekanisme pemandu bagian luar meliputi kolom pemandu besar, selongsong bola besar, selongsong pemandu besar, dan pegas, sedangkan mekanisme pemandu bagian dalam meliputi kolom pemandu kecil, selongsong bola kecil, selongsong pemandu kecil, dan pegas; Fitur pemrosesannya adalah mengencangkan pelat pelepasan dan templat cekung untuk diproses.
Keterangan
Cetakan stempel progresif multifungsi presisi dan metode pembuatannya
BIDANG TEKNIS
Invensi ini berkaitan dengan cetakan stempel berkecepatan tinggi-untuk memproduksi berbagai kabel, terminal, konektor, pegas, dan berbagai bagian perangkat keras kecil, terutama mengacu pada cetakan stempel progresif multifungsi yang presisi dan metode pembuatannya.
Teknologi latar belakang
Ada beberapa cacat dalam struktur dan teknologi pemrosesan cetakan stempel yang ada pada tingkat yang berbeda-beda. Misalnya pada suatu struktur, umumnya hanya terdapat empat kolom pemandu. Ketika kolom pemandu aus dan kehilangan keakuratannya, seluruh cetakan hanya dapat dibuang; ② Metode pemasangan cetakan cembung umumnya menggunakan pemasangan yang ketat, yang sangat merepotkan untuk pemeliharaan; ③ Kolom pemandu kecil dipasang pada pelat pemasangan cetakan cembung dan digeser dengan pelat pelepasan dan templat cekung. Teknologi pemrosesan mengadopsi persiapan material → pemesinan kasar dengan tang penggilingan dan pengeboran → perlakuan panas → penggilingan datar → pemotongan kawat → perakitan yang lebih bugar. Saat templat dipotong secara online, setiap bagian diproses secara terpisah sesuai dengan gambar, dan keakuratan pemesinan rongga templat sepenuhnya dijamin oleh keakuratan perkakas mesin, biasanya menggunakan pemotongan kawat lambat. Alasan di atas secara langsung mempengaruhi keakuratan dan masa pakai cetakan.
Ringkasan penemuan ini
Tujuan dari penemuan ini adalah untuk menyediakan cetakan stempel progresif multifungsi yang presisi dan metode pembuatannya, yang mengatasi kekurangan cetakan yang ada dengan meningkatkan struktur cetakan dan teknologi pemrosesan.
Solusi teknis untuk melaksanakan penemuan ini adalah sebagai berikut: cetakan stempel ini terdiri dari cetakan, kolom pemandu, cetakan cekung, cetakan cembung, dan pelat pelepasan. Struktur utama cetakan meliputi cetakan bawah, cetakan atas, mekanisme pemandu luar, dan mekanisme pemandu dalam. Cetakan atas mencakup dudukan cetakan atas, bantalan cetakan cembung, pelat pemasangan cetakan cembung, bantalan pelepasan, dan pelat pelepasan. Dadu yang lebih rendah mencakup tempat duduk cetakan yang lebih rendah, bantalan cetakan cekung, dan cetakan cekung. Dudukan cetakan atas, bantalan cetakan cembung, dan pelat pemasangan cetakan cembung dihubungkan bersama dengan sekrup dan pin. Dudukan cetakan bawah, bantalan cetakan cekung, dan cetakan cekung dihubungkan bersama dengan sekrup dan pin. Bantalan pelepasan dan pelat pelepasan dihubungkan bersama dengan sekrup; Mekanisme pemandu luar mencakup kolom pemandu besar, selongsong bola besar, selongsong pemandu besar, dan pegas. Mekanisme pemandu bagian dalam mencakup kolom pemandu kecil, selongsong bola kecil, selongsong pemandu kecil, dan pegas. Salah satu ujung kolom pemandu besar dipasang di dudukan cetakan bawah, dan ujung atasnya dilengkapi dengan selongsong bola besar. Selongsong pemandu besar dipasang di luar selongsong bola besar, dan selongsong pemandu besar dipasang di dudukan cetakan atas. Pegas dipasang pada kolom pemandu besar antara bahu poros dan selongsong bola besar. Kedua ujung selongsong pemandu kecil masing-masing dilengkapi dengan selongsong bola kecil, dan selongsong pemandu kecil berada di luar selongsong bola kecil. Selongsong pemandu kecil masing-masing dipasang di antara dudukan cetakan atas, bantalan cetakan cembung, pelat pemasangan cetakan cembung, dan dudukan cetakan bawah, bantalan cetakan cekung, dan templat cekung. Pegas masing-masing dipasang pada kolom pemandu kecil. Antara selongsong bola dan dudukan cetakan atas dan bawah.
Solusi teknisnya juga mencakup:
Dudukan cetakan atas dihubungkan ke bantalan cetakan cembung dan pelat pemasangan cetakan cembung melalui sekrup, dan pelat pelepasan dan bantalan pelepasan dihubungkan ke pelat pemasangan cetakan cembung dari dudukan cetakan atas melalui sekrup dan kolom dengan ketinggian yang sama. Sekrup antara bantalan cetakan cembung dan bantalan pelepasan dilengkapi dengan kolom dengan ketinggian yang sama, dan sekrup yang sesuai di dudukan cetakan atas dilengkapi dengan pegas yang kuat dan sekrup kompresi elastis.
Terdapat sekrup di dudukan cetakan bawah, paku pengangkat di bantalan cetakan cekung dan templat cekung, paku pemandu tambahan di pelat pelepasan, dan sekrup di bantalan pelepasan. Paku pengangkat sesuai dengan paku pemandu bantu, dengan pegas di antara sekrup dan paku pengangkat, dan pegas di antara sekrup dan paku pemandu tambahan; Terdapat sekrup di dudukan cetakan atas, dan sekrup pemandu utama di pelat pemasangan cetakan cembung, bantalan bongkar, dan pelat bongkar, dengan pegas di antara sekrup dan sekrup pemandu utama; Cetakan cembung pelubang dipasang di pelat tetap cetakan cembung, bantalan bongkar, dan pelat bongkar; Terdapat sekrup dan blok cetakan cembung untuk memasang cetakan cembung pada pelat pemasangan cetakan cembung.
Ada perekat antara selongsong pemandu besar dan dudukan cetakan atas; Perekat anaerobik dipasang di antara selongsong pemandu kecil dan pelat pemasangan cetakan cekung dan cembung.
Rongga cetakan templat dilengkapi dengan sisipan.
Metode penerapan penemuan ini meliputi persiapan bahan, pemesinan kasar, perlakuan panas, penggilingan, pemotongan kawat, dan perakitan; Ciri khasnya adalah pada pemotongan online, pelat pelepasan dan templat cekung diikat menjadi satu untuk diproses.
Metode ini juga mencakup:
Rongga cetakan templat mengadopsi tipe tertanam.
Pemotongan kawat adalah pemotongan kawat yang cepat.
Dampak yang menguntungkan dari penemuan ini adalah:
1. Umur yang tidak terbatas.
Sistem pemandu struktur cetakan ini dibagi menjadi dua sistem independen, bagian dalam dan luar. Ada empat kolom panduan besar di bagian luar dan empat kolom panduan kecil di bagian dalam. Saat mengganti kolom pemandu bagian dalam, kolom pemandu besar bagian luar digunakan sebagai acuan, dan saat mengganti kolom pemandu besar, kolom pemandu kecil bagian dalam digunakan sebagai acuan. Hal ini memastikan bahwa setiap bagian cetakan dapat diganti, dan cetakan dapat mencapai masa pakai yang tidak terbatas.
2. Cetakan cembung mengambang.
Struktur cetakan ini mengadopsi metode mengambang untuk memasang cetakan cembung, dengan sekrup menekan cetakan cembung di sampingnya. Cetakan cembung dan pelat pemasangan cetakan cembung meluncur bersama, dan juga meluncur bersama dengan pelat pelepasan, yang memudahkan pembongkaran dan pemeliharaan. Keakuratan kerja cetakan cembung dan cetakan cekung dijamin sepenuhnya oleh pelat pelepasan.
3. Metode pemasangan pilar panduan kecil.
Kolom pemandu kecil dari struktur cetakan ini dipasang pada pelat pelepasan, dan kedua ujungnya dipandu oleh interferensi bergulir yang masing-masing sesuai dengan pelat pemasangan cetakan cembung dan templat cekung. Panjang efektif ujung tetap dan bagian pemasangan berkurang, yang dapat meningkatkan akurasi pemandu dengan akurasi pemrosesan yang sama.
4. Seluruh cetakan mengadopsi tipe yang tertanam sepenuhnya, membuat perawatan, penyesuaian, dan penggantian menjadi nyaman.
5. Struktur cetakannya sederhana dan siklus pembuatannya pendek.
Deskripsi gambar terlampir

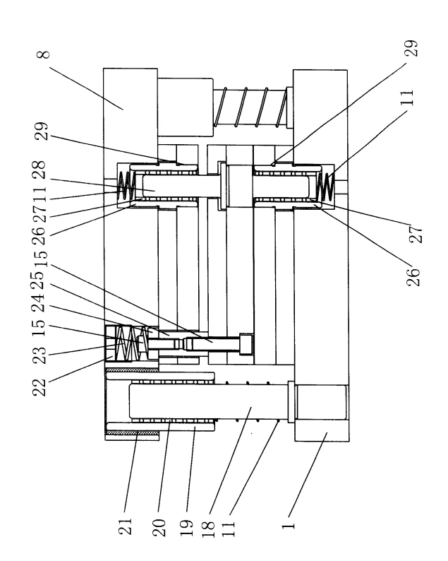
Gambar 1 adalah tampak depan dari penemuan ini, termasuk 1 dudukan cetakan bawah, 2 bantalan cetakan cekung, 3 templat cekung, 4 pelat pelepasan, 5 bantalan pelepasan, 6 pelat pemasangan cetakan cembung, 7 bantalan cetakan cembung, 8 dudukan cetakan atas, 9 pin, 10 pasang sekrup pemandu, 11 pegas, 12 sekrup tanpa kepala, 13 sekrup pemandu utama, 14 cetakan cembung pelubang, 15 sekrup soket segi enam, 16 balok cetakan cembung, dan 17 paku pengangkat.

Gambar 2 adalah tampak samping dari Gambar 1, dengan 18 kolom pemandu besar, 19 selongsong pemandu besar, 20 selongsong bola besar, 21 perekat, 22 sekrup kompresi, 23 pegas kuat, 24 washer kolom sama tinggi, 25 kolom sama tinggi, 26 selongsong pemandu kecil, 27 selongsong bola kecil, 28 kolom pemandu kecil, dan 29 perekat anaerobik.

Gambar 3 adalah tampilan atas dari Gambar 1.

Gambar 4 adalah diagram skema struktur kolom pemandu kecil yang ada.

Gambar 5 menunjukkan cetakan stempel khusus dari penemuan ini, yang mempunyai banyak rongga di atasnya.
Perwujudan
Penemuan ini akan dijelaskan lebih lanjut dalam hubungannya dengan gambar-gambar yang menyertainya
Seperti ditunjukkan dalam gambar, struktur utama dari penemuan ini mencakup dudukan cetakan bawah 1, bantalan cetakan cekung 2, cetakan cekung 3, pelat pelepasan 4, bantalan pelepasan 5, pelat pemasangan cetakan cembung 6, bantalan cetakan cembung 7, dan dudukan cetakan atas 8; Selain itu, terdapat mekanisme pemandu internal dan eksternal, dimana mekanisme pemandu eksternal meliputi kolom pemandu besar 18, selongsong pemandu besar 19, selongsong bola besar 20, dan perekat 21, dan mekanisme pemandu internal meliputi kolom pemandu kecil 28, selongsong pemandu kecil 26, selongsong bola kecil 27, dan perekat anaerobik 29. Diketahui hubungan sambungan struktur di atas.
Karakteristik struktural
Cetakan ini umumnya terdiri dari delapan templat, dari bawah ke atas: dudukan cetakan bawah 1, bantalan cetakan cekung 2, cetakan cekung 3, pelat pelepasan 4, bantalan pelepasan 5, pelat pemasangan cetakan cembung 6, bantalan cetakan cembung 7, dan dudukan cetakan atas 8.
Cetakan atas terdiri dari dudukan cetakan atas 8, bantalan cetakan cembung 7, pelat pemasangan cetakan cembung 6, bantalan pelepasan 5, dan pelat pelepasan 4. Dudukan cetakan atas 8, bantalan cetakan cembung 7, dan pelat pemasangan cetakan cembung 6 dihubungkan bersama dengan sekrup 15 dan pin 9, dan bantalan pelepasan 5 dan pelat pelepasan 4 dihubungkan bersama dengan sekrup 15. Cetakan bawah terdiri dari templat cekung 3, a bantalan cetakan cekung 2, dan dudukan cetakan bawah 1, yang dihubungkan bersama dengan sekrup 15 dan pin 9.
Sistem pemandu cetakan dibagi menjadi dua sistem independen, sistem bagian dalam adalah kolom pemandu kecil 28, yang dipasang erat dan dipasang pada pelat pelepasan 4, dan sistem bagian luar adalah kolom pemandu besar 18, yang dipasang erat dan dipasang pada dudukan cetakan bawah 1.
Sekrup kompresi 22 dan pegas kuat 23 dipasang pada dudukan cetakan atas 8, dan bagian cetakan atas dihubungkan ke pelat pelepasan 4 melalui sekrup 15, yang berperan dalam penekanan dan pengosongan selama pengecapan kecepatan-tinggi.
Paku pemandu tambahan (10) dipasang pada pelat pelepasan (4), dan umumnya semakin banyak semakin baik. Ini berperan dalam memandu strip material positif selama-pengecapan berkecepatan tinggi dan berfungsi sebagai referensi ukuran untuk keseluruhan strip produk.
Cetakan cembung (14) dipasang dengan cara mengambang, dan dikompresi dari samping dengan sekrup (15) dan blok penekan (16).
Cetakan mengadopsi tipe tertanam sepenuhnya.
Karakteristik proses produksi
Karena keakuratan kerja cetakan cembung dan cekung dijamin sepenuhnya oleh pelat pelepasan, persyaratan konsentrisitas antara rongga pelat pelepasan dan rongga cetakan cekung sangat tinggi.
Teknologi pemrosesan templat cetakan stempel umum adalah sebagai berikut: persiapan bahan → pemesinan kasar dengan tang penggilingan dan pengeboran → perlakuan panas → penggilingan datar → pemotongan kawat → perakitan yang lebih bugar; Saat templat dipotong secara online, setiap bagian diproses secara terpisah sesuai dengan gambar, dan keakuratan pemesinan rongga templat sepenuhnya dijamin oleh keakuratan perkakas mesin, biasanya menggunakan pemotongan kawat lambat.
Teknologi pemrosesan ini menyatukan dua templat paling penting, pelat pelepasan dan templat cekung, selama pemotongan online. Hal ini memastikan konsentrisitas dua rongga templat, sehingga memastikan bahwa parameter terpenting dalam cetakan stamping, jarak antara cetakan cembung dan cekung, tidak terpengaruh oleh kesalahan pemrosesan rongga templat. Hal ini sangat mengurangi ketergantungan pada-peralatan mesin berpresisi tinggi selama pemrosesan pemotongan kawat template. Bahkan dengan mesin pemotong kawat yang cepat,-cetakan dengan presisi tinggi dapat dibuat, sehingga menghasilkan produk-dengan presisi tinggi.
2025 4 JuliRekomendasi Produk WBM Minggu:
Bergulir Mati:
Sebagai salah satu produsen alat profesional, menyediakan rolling die dengan kekerasan tinggi, pengiriman cepat, dan pelayanan yang baik.
https://www.bearingroller.com/tools/rolling-dies.html

