Abstrak
Ini melibatkan cap progresif yang digunakan untuk memproduksi bagian logam. Ada kursi cetakan atas dan bawah, lengan pemandu atas dan bawah, pelat bantal atas dan bawah, templat cekung, cincin penahan, kolom pemandu bagian dalam, pelat pelepasan, pelat batas ketinggian, pegas buangan, pelat tetap, sekrup pelepasan, kuku pemandu, dan cetakan cembung. Cetakan cembung dilengkapi dengan cetakan cembung iga dan cetakan cembung pra. Proses meninju bagian dibagi menjadi pemotongan tulang rusuk, pemotongan pra, dan pemotongan presisi. Alur pemotongan ditinju pada strip oleh cetakan cembung pemotongan, dan kemudian alur pemotongan dipotong oleh cetakan cembung pre cutting untuk secara kasar memotong ujung wajah bagian. Pada posisi yang sesuai, cembung pemotongan presisi digunakan untuk menghilangkan tunjangan pemotongan presisi dan secara akurat memotong bentuk bagian. Karena ketajaman cetakan cembung iga dan kedalaman dangkal iga, tidak hanya memotong permukaan material, tetapi juga memiliki daya tarik yang jauh lebih sedikit pada permukaan material daripada meninju normal. Karena kompresi material selama pembentukan, sudut runtuh yang dihasilkan sangat kecil dan tidak mudah retak. Proses pre cutting tidak akan meningkatkan sudut runtuh pada permukaan bagian. Dalam proses pemotongan presisi, bagian kasar dari iga potong dan pre cut dihilangkan untuk mencapai ukuran bagian.
Keterangan
Mati Stamping Progresif
Bidang teknis
Model utilitas ini berkaitan dengan die stamping, terutama die progresif yang lebih baik untuk memproduksi bagian logam.
Teknologi Latar Belakang
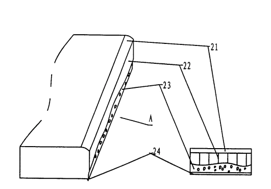
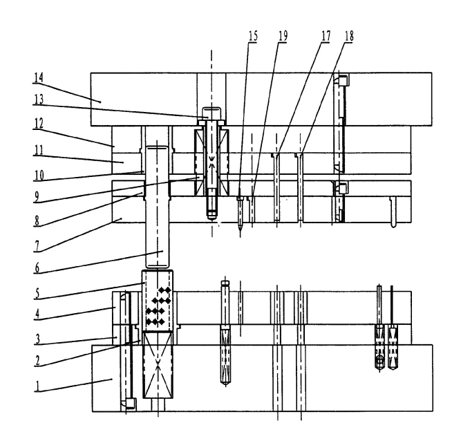
A progressive stamping die refers to a die equipped with an elastic discharge plate and precise positioning with guide pins for feeding, as shown in Figure 1. Existing progressive stamping dies generally have a lower die seat 1, a lower guide sleeve 2, a lower cushion plate 3, a concave template 4, a retaining ring 5, an inner guide column 6, a discharge plate 7, a height limit plate 8, a discharge spring 9, an upper guide sleeve 10, a fixed plate 11, Pelat Bantal Atas 12, sekrup pelepasan 13, kursi die atas 14, pin pemandu 15, dan cembung mati 16. Biasanya, bagian-bagian yang diproduksi dengan stempel secara alami memproduksi sudut-sudut bulat, termasuk fillet 21, pita terang 22, pita fraktur 23, dan gerinda 24, pada penampang mereka (lihat Gambar 2). Terjadinya keruntuhan sudut disebabkan oleh fakta bahwa meninju bergantung pada gaya geser untuk memotong material. Selama proses geser, bahan akan mengalami deformasi plastik sebelum fraktur, yaitu, permukaan bahan bagian akan ditarik ke bawah oleh pukulan, membentuk runtuh sudut. Keberadaan sudut runtuh transisi antara permukaan bagian dan bagian di persimpangan busur mengurangi area efektif bagian; Untuk produk dengan bagian ini sebagai bagian kerja atau sambungan antara permukaan atas dan bagian sebagai bagian kerja, ia akan memiliki efek samping yang signifikan; Seperti mengurangi umur dan ketidakpekaan operasi. Metode yang ada untuk mengurangi sudut runtuh termasuk mengurangi celah meninju dan membuat bilah cembung yang tajam. Meskipun metode ini dapat mengurangi beberapa sudut runtuh, efeknya tidak ideal. Pada saat yang sama, karena celah kecil, cetakan cembung aus dengan cepat, dan cetakan cembung membutuhkan bilah yang tajam, sehingga sering kali perlu memperbaiki cetakan dan menajamkan pisau.
SUmmary dari penemuan ini
Tujuan dari model utilitas ini adalah untuk memberikan cap progresif die yang secara signifikan dapat mengurangi sudut runtuh dari bagian meninju dan memastikan produksi massal suku cadang, mengurangi pemeliharaan dan perbaikan die progresif.
Model utilitas ini telah ditingkatkan berdasarkan die stamping yang ada, dan lebih lanjut dilengkapi dengan cembung iga cembung dan cembung cembung pre cutting. Sudut pemotongan tulang rusuk dapat dipilih dari 2 0 derajat hingga 6 0 derajat, dan kedalaman pemotongan adalah (0,2 ~ 0,5) t, di mana t adalah ketebalan bahan stamping.
Karena adanya pukulan iga dan pukulan pre cutting dalam model utilitas ini, mekanisme deformasi stamping dari bagian -bagian tersebut telah ditingkatkan secara signifikan; Bagilah proses meninju menjadi tiga langkah, yaitu: memotong tulang rusuk+pemotongan pra+pemotongan presisi. Pada langkah tertentu dalam dadu progresif progresif, cembung iga cembung diatur, dan alur pemotongan tulang rusuk yang sesuai ditinju pada material; Dalam cetakan ini, pada posisi yang sesuai pada langkah berikutnya, cetakan cembung pre cut memotong alur tulang rusuk dan secara kasar memotong ujung ujung bagian. Posisi berada pada jarak tertentu dari posisi bagian, dan jarak ini adalah tunjangan pemotongan presisi. Pada langkah berikutnya, tunjangan pemotongan presisi dihilangkan dengan pemotongan cembung die presisi pada posisi yang sesuai, dan bentuk bagian dipotong secara tepat.
Menggunakan metode ini, karena ketajaman pukulan iga cutting dan kedalaman dangkal iga, tidak hanya pemotongan permukaan material, tetapi tarikan punch pada permukaan material jauh lebih kecil dari meninju normal. Sementara itu, karena kompresi material selama pembentukan, sudut runtuh yang dihasilkan sangat kecil. Cetakan iga pemotong terbuat dari bahan dengan ketangguhan yang baik, dan kedalaman iga pemotongan dangkal, sehingga tidak mudah untuk retak. Dalam proses pemotongan pra, bahan pemotongan terputus tanpa mempengaruhi permukaan bagian, yaitu, tanpa meningkatkan sudut runtuh. Dalam proses pemotongan presisi, bagian kasar dari iga potong dan pre cut dihilangkan untuk mencapai ukuran bagian. Karena jumlah pemotongan presisi yang sangat kecil, sudut runtuh pada dasarnya tidak meningkat.
Setelah produksi praktis dari berbagai bahan dalam beberapa cetakan, sudut runtuh dari penampang dikontrol menjadi sangat kecil dan dapat memastikan produksi yang stabil dalam jumlah besar; Peningkatan kualitas dan efisiensi. Model utilitas ini sangat cocok untuk mencap produksi bahan logam seperti besi dan tembaga dengan ketebalan 0. 8-5 mm.
Deskripsi gambar terlampir

Gambar 1 adalah diagram skematik dari struktur die progresif progresif yang ada.

Gambar 2 menunjukkan diagram efek dari bagian -bagian yang dihasilkan oleh die progresif progresif yang ada. Pada Gambar 2, gambar kanan bawah adalah diagram skematis ke arah A.

Gambar 3 adalah diagram skematis dari struktur perwujudan model utilitas ini.

Gambar 4 adalah diagram skematis dari proses produksi stamping dari perwujudan model utilitas ini.

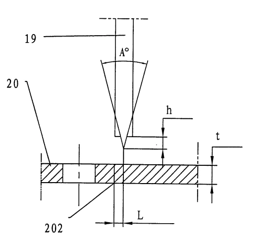
Gambar 5 adalah diagram skematis dari cetakan cembung iga dalam perwujudan model utilitas ini.

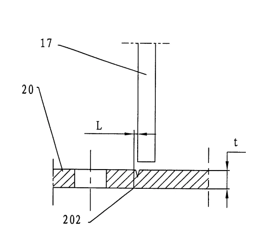
Gambar 6 adalah diagram skematis dari cetakan cembung pra -potong sesuai dengan perwujudan model utilitas ini.
Perwujudan
Perwujudan berikut akan lebih menggambarkan model utilitas saat ini dengan gambar struktural.
Seperti yang ditunjukkan pada Gambar 3 dan 4, model utilitas saat ini telah membuat perbaikan pada stamping progresif yang ada die (lihat Gambar 1). Die progresif progresif dilengkapi dengan kursi die bawah 1, lengan pemandu bawah 2, pelat bantal bawah 3, templat cekung 4, cincin penahan 5, kolom pemandu bagian dalam 6, pelat pelepasan 7, pelat pembatas tinggi 8, pegas debit 9, lengan pemandu atas 10, pelat paku atas 11, piring conce atas piring atas. Cembung cembung dilengkapi dengan cembung iga cembung di 19, cembung cembung pre cembung 17, dan cembung pemotongan presisi die 18. Bagilah proses produksi komponen bagian menjadi tiga langkah: iga pemotongan+pemotongan pra+pemotongan presisi; Pada langkah tertentu dalam cap progresif die, cembung iga cembung di disiapkan, dan alur iga cutting dipukul di strip 20 (dengan lubang panduan 201 di strip). Dalam cetakan ini, pada posisi yang sesuai pada langkah berikutnya, cetakan cembung pre cut 17 memotong alur tulang rusuk dan secara kasar memotong ujung ujung bagian. Posisi berada pada jarak tertentu dari posisi bagian, dan jarak ini adalah tunjangan pemotongan presisi; Pada langkah berikutnya, Presisi Cutting Punch 18 digunakan untuk memotong tunjangan pemotongan presisi pada posisi yang sesuai, dan bentuk bagian secara tepat dipotong.
Pada Gambar 5, sudut pemotongan A dari tulang rusuk 19 dapat dipilih sebagai 2 {0 derajat ~ 6 0 derajat, dan kedalaman pemotongan h adalah (0. 2 ~ 0. 5) t, di mana t adalah ketebalan bahan perangko, biasanya 0.8 ~ ~ ~ {~ ~ ~ 5) t, di mana t adalah ketebalan materi perangko, 0.8 ~ {{11 ~ 5) t, di mana t adalah ketebalan materi perangko, 0.8 ~ {8 {8 ~ ~ 5) T, di mana t adalah ketebalan bahan perangko, 0.8 ~ {8 {8 ~ ~ 5) t, di mana t adalah ketebalan bahan perangko, 0.8 ~ {8 ~ ~ {{11 ~ 5) t, L adalah jarak antara posisi bagian dan tengah tulang rusuk pemotongan, mulai dari 0,1 hingga 1mm.
Pada Gambar 6, L mewakili jarak antara posisi bagian dan pukulan pra cut, mulai dari 0. 1 hingga 1mm.
2025 3 MaretRekomendasi Produk WBM Minggu:
Bola baja krom tinggi:
G5, G10, G16 Bola krom kami biasanya diproduksi sesuai dengan GBT 308. 1-2013 dan iso 3290-1: 2014 Standar. Kekerasan akan menjadi basis khusus berdasarkan kebutuhan Anda.
https://www.bearingroller.com/rolling-elements/steel-ball/high-chrome-steel-balls.html

